用确凿的结果/成绩说话?也别说太远的,就拿去年的来说说:
- 世界/洲际级大赛:2019年世界军人运动会(武汉)
- 全国最高级别大赛:2019全国田径锦标赛(辽宁)
- 青年年龄段最高级别大赛:2019第二届全国青年运动会(山西)
结论直接拉到最末尾。
(以下所有比赛数据、成绩截图及结论,欢迎惠存。用以必要时候的反驳、质疑,和以过分夸张手法来褒赞军人的斥责,这才是对军人群体最大的污蔑)
正好去年10月武汉办过世界军人运动会(Military World Games)……

简单介绍下军运会,大体就是奥运会的军人版。算得上全球军人最高规格的大型综合性运动会,和奥运会一样四年举办一次,同样分为夏军运和冬军运。比赛项目除了常规的体育运动项,还会增加国际军体特色比赛项目,比如空军五项、军事五项、海军五项、定向越野等等。
——除了上面提到这几个军体特色比赛项目,军运会其它和奥运会之类的没什么区别,同样是在最顶级的运动场、经过最科学的训练、使用最好的装备、有相当充分的备战、且赛道绝对标准不会缺斤少两……无非参赛者必须具备军人资格而已。
去年武汉军运会,男子5000米:
- 冠军,巴鲁·比哈努(巴林),14分08秒99
- 亚军阿马纳尔·佩特罗斯(德国),14分09秒16
- 季军彼得·恩德格瓦(肯尼亚),14分09秒23

——平心而论去年军运会5000米男子的成绩并不亮眼,比较拉胯。
这些人毕竟更多时候的身份都是运动员>军人,日常完全是职业顶级选手的存在,对比同样去年的田径世锦赛(冠军埃德里12分58秒85)没法看,甚至连世锦赛参赛门槛(男子是13分22秒50)都没达到。
不看冠军的,看看参加军运会5000米最慢选手(预赛成绩):

除了一位中途退赛未完成比赛,最慢的是18分35秒92。而如果作为军人,5000米能跑到15-16分钟,意味着你具备了参加世界军运会的实力、且不会是最慢的那个——在合计41人实际出战的军运会预赛中,假设你稳定发挥出水准,排名会在27-35名之间。
但进决赛(前15名)还不够,军运会预赛第15名成绩是14分43秒63。
假设题目里提到的军人(也别管退役还是现役了),标准5000米平整赛道、穿着专业运动装备(田径5000米比赛选手都是穿着速度最快的钉鞋)、也经过最专业的训练,如果五公里成绩能达到15~16分,就算成绩是15分59秒99吧。
那这位军人具备了参加世界军人最顶级大赛的实力,理应代表国家出战。
——但实际上,去年中国压根就没有男、女选手参加了5000米这个项目(严谨点说,可能存在实力足以参赛的中国军人,但他们并没有参加军运会。放弃参加无法拿名次比赛的机会,这种情况也很正常)。
再来看看非限定军人的。
国内男子5000米大赛并不多(全运会都停了很多届,下一届2021年才会重启男子5000米),去年全国田径锦标赛男子5000米决赛,冠军是严伟的14分07秒04。
当天比赛温度达到28℃,已属于高温比赛,如果他是军人身份,能参加军运会,是有极大几率拿到奖牌的。

2019年全国田径锦标赛男子5000米决赛,严伟最后几百米逆转夺冠,14分07秒04
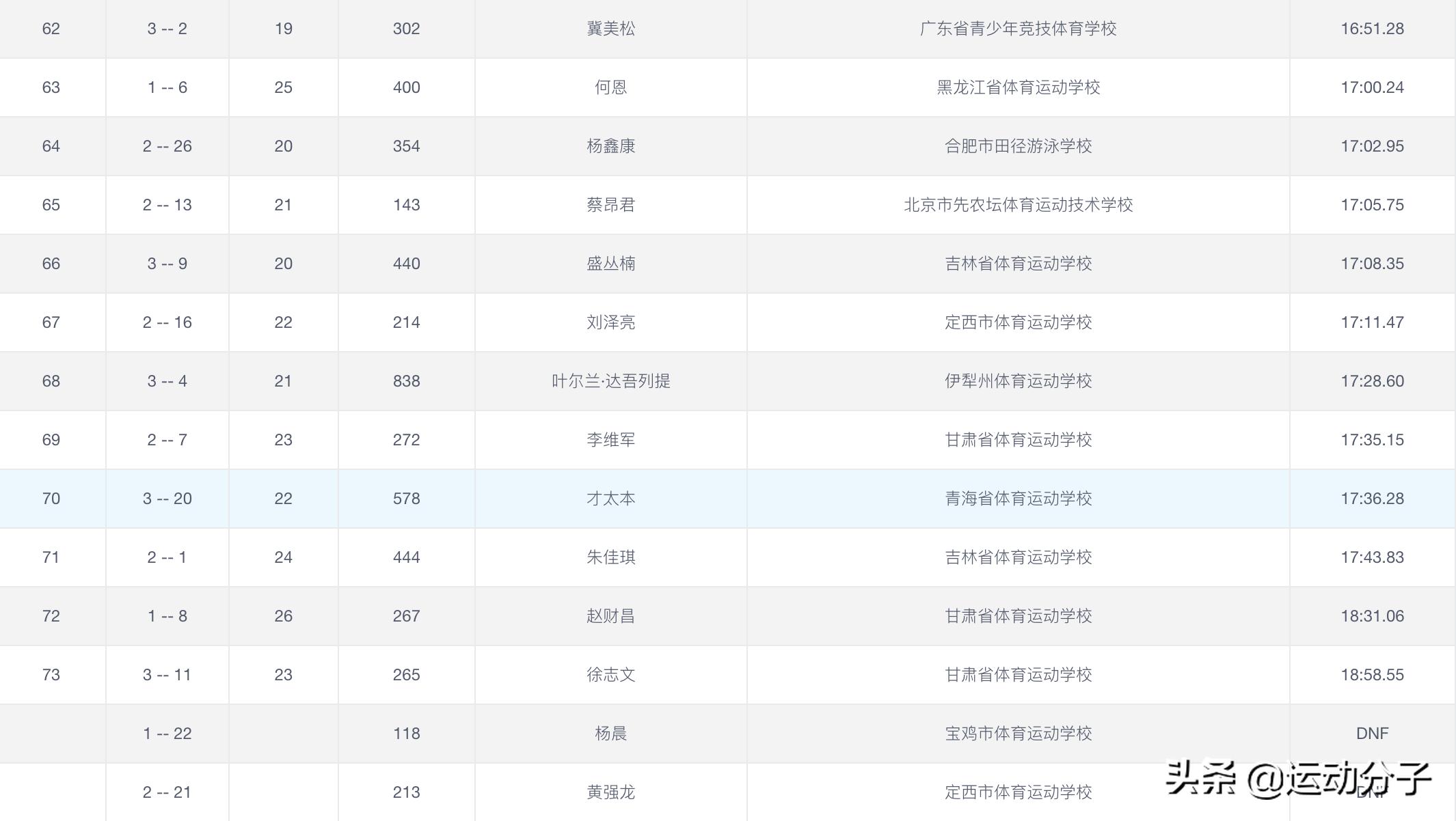
全国田径锦标赛不设预赛,决赛实际出战27人,除了两人中途退赛,3人末位淘汰(指比赛中落后太多,裁判会示意要求选手结束比赛离开赛道),最终22人完成比赛。
那最后一名是万玛的15分44秒90:

——5000米达到15-16分的水准,那说明你具备了参加目前国内最高级别比赛、能进入决赛且名次还能在15-22名之间,并不是最末尾的水准。
根据《中华人民共和国现役军官法》,公民年满18周岁才可以应征入伍。
这意味着假如某个军人5000米能跑到15-16分,他在入伍前几年理应也有极高的中长跑水准,具备了参加该年龄段较高级别运动会的能力——5000米之类的项目,几乎不存在以往跑20分钟开外、而进了部队训练多年达到15-16分钟的可能。
这话有点绝对,但还是符合人体运动科学的。
去年第二届全国青年运动会,按年龄分为甲乙二组,甲组年龄为16岁以下,乙组为14岁以下。我们来看看甲组5000米男子预赛的成绩:

甲组16周岁以下,预赛最快的几位选手接近15分,已经是5000米项目这个年龄段中国最快的一群少年/中学生了。
排名靠后的,成绩在17-19分之间:

假如在服役期间5000米成绩在15-16分钟之间,那在他更年轻时(初中高中阶段),不说参加过全国运动会级别,显然也应该参加过省级、地市级比赛,并且具备了拿名次甚至拿奖牌的能力。
此前默默无闻、在入伍后忽然大幅提升成绩,不科学。
上述不管是世界/洲际级别的军运会、还是国内较高级别的全国田径锦标赛、青年运动会,选手们都会进行兴奋剂排查,使用专业的计时设备。
整个比赛的公平公正性,级别相比部队里的体测毫无疑问是要高很多的。
依据中国田协的《田径运动员技术等级标准》,15-16分钟已经达到二级运动员的水准:

以日常健身为目的,下面这份按性别、年龄来区分的《全国田径锻炼等级标准》,15-16分也算得上普通人里跑步最快的那档:

不排除部队里有人具备了极高的长跑能力,可这个比例,应该是相当相当相当相当低的……
在跑5公里需要多少分钟?里,我们也提到过部队里5公里体测的情况:
《军人体能标准(2006年版)》中关于五公里项目体能要求的介绍为: 五公里,及格成绩为23分钟整,优秀成绩为21分钟整(内); 针对海军陆战队,则要求20分钟整(内)。 ——上述都没有负重要求,就是轻装加日常用鞋。
另外还有一个负重五公里跑。负重五公里又分为轻负重、重负荷和负重5公里越野:轻负重仅仅携带背包、茶缸和水壶;不携带*器武**、不戴头盔、不穿作战靴,一般单兵负重13公斤左右;重负荷武装五公里携带单兵所有*器武**、头盔、步枪弹一个基数(约150发)含*夹弹**、4枚*榴弹手**、灌满水水壶、穿作战靴、背包、茶缸等,负荷大约最少是24公斤(不包括机枪手、火箭筒手及*击狙**手等特殊兵种);以及,不同部队对考核内容都不尽相同。军人体能标准的新大纲不再设立军人徒手5公里考核,延续考核3000米跑、3公里武装越野和5公里武装越野。
(不同部队具体训练项目和考核标准都不一样,上述这些只作为参考。)
总结一下吧。作为军人,5000米成绩达到15-16分钟——
- 具备了代表中国军人、代表中国参加军人最高级别体育大赛,世界军人运动会的能力。并且在所有参赛者中能达到接近中游排名的水准,并不是最差的几位;
- 具备了参加中国国内最高级别5000米田径比赛的实力,且能跑进决赛,在决赛所有选手中接近中游。说是中国5000米跑的最快的100人,并没太多夸大成分;
- 往前推,这样的长跑能力,在其中学(初中/高中)年龄段,具备了在省/市级别田径比赛、或年龄段(如青年运动会/少年运动会/体校运动会)拿名次甚至奖牌的能力。说不定还是更低级别地区单位(比如区里)的青年纪录;
- 达到了中国《田径运动员技术等级标准》二级运动员的标准,这个标准较非职业选手,几乎是无法实现的。
以上所有比赛数据、成绩截图及结论,欢迎惠存。
用以必要时候的反驳、质疑,和以过分夸张手法来褒赞军人的斥责,这才是对军人群体最大的污蔑。