
1、在图中,画出入射光线AO的反射光线,并标明反射角和它的大小。

2、如图所示,是一只在空中飞行的足球(不计空气阻力)画出它所受力的示意图.

3、请根据实物电路,在虚线框内画出对应的电路图。

4、通电螺线管下方自由转动的小磁针静止后如图所示,请在图中标出螺线管的N、S极和螺线管中的电流方向.

5、一小球A在水平桌面上匀速向左运动,桌面上放置一平面镜,如图所示是小球A和它在该平面镜中的像A´在某一时刻对应的位置,请作出该平面镜(保留作图痕迹)

6、如图所示,S是点光源,作出入射光线SO的反射光线和大致的折射光线。

7、请画出入射光线通过凸透镜的折射后的出射光线。

8、在图中画出与入射光线对应的折射光线。

9、如图所示,在探究“凸透镜成像规律”的实验中,将蜡烛放在位置A时,观测到在位置C成倒立、缩小的实像。若把蜡烛移到位置B,试作图找出蜡烛通过透镜的成像位置。

10、在图中用平面镜成像特点作出物体AB的像.

11、请画出入射光线通过透镜后的折射光线.

12、如图所示,一束光线从空气斜射到水面时发生反射和折射,OB为反射光线,请作出入射光线、法线和大致的折射光线。

13、有一个木球静止在水面上,在图中画出它的受力示意图.

14、请用力的示意图表示悬浮在水中的物体受到的浮力。

15、如图所示,画出图中力F的力臂并用字母L表示。

16、如图所示,用细线拉住的小球静止在水中,请画出小球所受重力的示意图(重
心已画出)。

17、重为10牛的物体静止在水平地面上,用力的图示法在图中画出它所受的重力G。

18、如图所示,请画出重物G的阻力臂,并画出作用在c点且能使杠杆保持平衡的最小力。

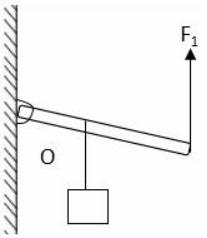
19、请在下图中画出动力F1的力臂l1。

20、如图所示,两灯均标有“6V 3W”字样,接在6V电源上,闭合开关S,两灯均发光但较暗.现给你两根导线和一只开关S′,请将开关S′接入电路.要求闭合S、S′时,只有灯L1正常发光;闭合S、断开S′时两灯又恢复到原来发光较暗的状态.

21、按题目要求完成如图:如图,A、B两球带异种电荷,画出A受到重力和吸引力的示意图。

22、请将电源、电流表,电压表三个元件的符号填入下图电路的虚线框内,并将电路补充完整。要求:开关S闭合后,电流方向如图所示,移动滑动变阻器的滑片P,小灯泡L变亮时,电压表的示数变小。

23、按题目要求完成如图:如图,用笔画线代替导线,正确连接家庭电路。

24、根据安全用电原则,将图中开关、两只“220V60W”电灯连在家庭电路中,要求开关同时控制两灯,且能正常发光。

25、请在下图中用笔画线代替导线,将电灯、开关接入家庭电路中;

26、如图所示,小磁针放在两通电螺线管之间,静止时小磁针的N、S极处于如图所示的状态,请完成螺线管的绕线,并标出电源的正、负极。










