我们最先认识基金,可能是从货币基金开始的。之后我们又相继熟悉了债券基金、偏股基金,再后来还认识了指数基金、QDII型基金,还有这几年火爆一时的沪港深基金。
说到投资海外市场的基金,QDII型和沪港深基金,是我们第一想到的。其实,还有一类基金可投资海外,那就是香港互认基金。
互认基金发展史
●2015年7月,中国证监会、香港证监会联合正式开展两地基金互认,符合条件的基金可在对方市场进行销售。其中,内地公募基金到香港市场展开销售称为“南下互认基金”,香港公募基金到内地销售则称为“北上互认基金”。
●2015年12月18日,首批内地香港互认基金正式注册,首批北上互认基金共有3只,分别为摩根亚洲总收益债券基金、恒生中国H股指数基金以及行健弘扬中国基金,类型分别为债券型、股票指数型、股票型;南下互认基金共有4只,分别为华夏回报混合、工银瑞信核心价值混合、汇丰晋信大盘股票、广发行业领先混合。
●2016年共有2只获批,2017年有4只,2018年有7只。2019年以来,已有3只产品获批,最新一只是4月12日拿到批文的海通亚洲高收益债券。
国家外汇管理局最新统计数据显示,截至今年6月底,自2015年11月两地互认基金正式启动以来,香港基金在内地累计申购322亿元人民币,除去因赎回或分红导致的192.54亿资金流出,累计净申购资金流入为129.46亿元人民币。
香港互认基金,也就是北上互认基金,其实就是香港的基金拿到内地来卖。作为一种“新鲜事物”,内地投资者热情还是很大的,从销售数据上就能说明。
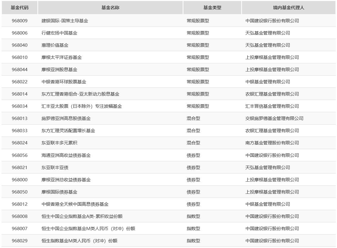
香港基金要想拿到内地来卖,需要一个境内基金代理人,最近的共计8家,其中7家基金公司和1家银行。
北上互认基金共计19只,其中8只股票型,3只混合型、5只债券型、3只指数型。

建银国际-国策主导基金,是股票型基金,以港股市场为主要投资市场。管理人也是建行系的国际资管公司。2016-2018的业绩分别为-19.52%、12.18%、-20.89%,业绩平平。
行健宏扬中国基金,市面上容易买到的互认基金,最新持股中超过70%投资香港股票。2019年上半年回报率为10.34%。
惠理价值基金,从最新披露的十大重仓中,股票投资涉及到了内地、美国、港、台等多个市场。今年上半年涨18.3%。
摩根太平洋证券基金,主要投资亚洲市场,最新的持仓:日本(37.4%)、中国(19.1%)、澳大利亚(11%)、印度(7.2%)、香港(6.9%)等。上半年涨幅13.88%。
...
海通亚洲高收益债券基金,债券基金,最新债券持仓,56%是中国内地,港澳地区持仓12%左右。今年上半年收益7.91%,在债券收益还行。
东亚联丰亚债,主投亚洲的政府债及企业债的债券基金,2016-2018年收益分别为14%、8.3%、-2.4%。
...
更多的基金信息可以到证监会网站查找一下。
综合来看,互认基金对于我们来说,是一种“外来的基金”。大体上与内地基金模式一致,但一些小的细节也有不同,比如互认基金信息披露大部分是以月度为单位。
另外,从收费上来看,互认基金管理费、申购费都比较高,通常没有赎回费。与QDII型基金有着类似的情况,比如会有汇率风险、赎回时间较长。
还有一个区别是,QDII基金管理人是内地基金公司,而互认基金管理人是香港的管理机构。相对于海外股市、债市的复杂性,海外管理人有着更多的优势。
相比较于投资内地的基金,收益性上,互认基金可能并不占优。
各有利弊。投资的话,内地的基金足够了。